文献原文https://doi.org/10.1016/j.compedu.2025.105421
1.导语
如果有一位“AI同事”能在你初入职场时陪你练习沟通、应对压力,你会不会更从容地上路?
这篇研究把生成式AI和游戏化学习结合起来,打造了一个职场新人的“心理健身房”——不仅练嘴皮子,还练心态。结果发现,和AI对话的新人,学习效果、沉浸感和心理负荷都显著优于看视频或读文本的对照组。
2.研究是什么?
研究背景:职场新人常面临沟通压力和内心矛盾,但传统培训缺乏真实情境和即时反馈。
目的:探索生成式AI作为即时元认知支架在职场沟通教育游戏中的效果。
对象:91名成人,分为三组 → 实验组1:GenAI互动元认知支架(与GenAI NPC对话);实验组2:视频元认知支架;对照组:文本元认知支架

_1_post_MF45128687.png)
方法:准实验设计,结合Gather Town模拟空间 + Google Form多路径剧情 + GenAI NPC即时对话反馈,测量学习成效、心流、认知负荷、游戏真实度和行为模式。



3.发现了什么?
- 学习成效:实验组1显著优于对照组,AI即时互动比文本引导更有效。
- 心流体验:实验组1的心流显著高于对照组,AI对话让玩家更沉浸。
- 游戏真实度:实验组1的整体真实感显著高于实验组2(视频组)。
- 认知负荷:实验组1的相关认知负荷显著高于对照组,说明AI引导促进了深层思考。
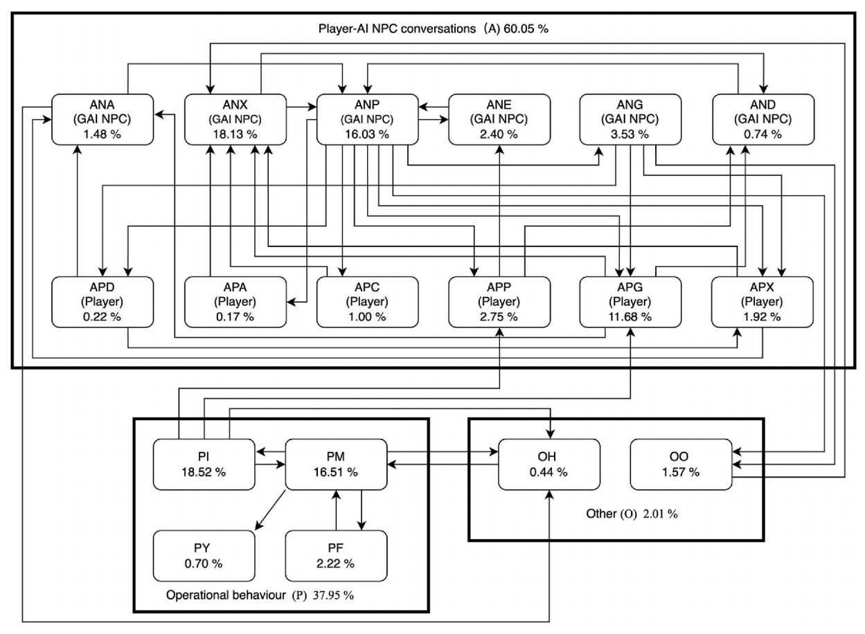
- 行为模式:玩家与AI NPC的互动占比高达60%,形成了“提问→建议→举例→反思”的良性循环。


4.想到了什么?
- AI的脚手架角色能否迁移到其他职场情境?比如客户沟通、团队协作、情绪管理?
- AI对话vs.真人模拟,效果差异有多大?会不会AI反而更“安全”,大家更愿意倾诉?
- 是否可能存在“AI novelty effect”?如果长期使用,学习效果是否会下降?
- 能不能把这种框架用在师范生、护理生、客服等其他培训场景中?感觉还不错。
5.论文基本信息:
Ngu, P. C., Chien, C. C., Ho, Y. T., & Hou, H. T. (2025). A generative AI educational game framework with multi-scaffolding supports workplace competency development. Computers & Education, 239, Article 105421. https://doi.org/10.1016/j.compedu.2025.105421

晶晶在笔记中敏锐地指出了AI作为“安全”对话伙伴可能带来的独特优势,这触及了人机交互中一个微妙的心理机制。不过,如果这种“安全”感恰恰源于AI缺乏真实的社会性压力与后果,那么长期来看,它训练出的沟通能力在应对真实、复杂的人际冲突时,其迁移效果是否会打折扣?
这篇研究它测量的是元认知能力,即对自己思维和沟通策略的监控、反思和调整,不是简单的对话技巧。实验组1在“相关认知负荷”上显著更高,说明AI的即时反馈应该确实能够促使学习者进入更深的反思状态。这种“学会如何反思”的能力,比“学会如何对AI说话”更具有迁移性。老师您的担忧很有道理,感觉未来可以尝试“从AI到真人”的过渡设计,如果能在AI训练之后,加入一个“与真人NPC或同学进行模拟对话”的环节,对比两组在真实互动中的表现,就能更清楚的看到效果。换句话说,AI也许不是取代真人练习,而是作为真人练习前的认知准备阶段。
感谢晶晶分享!这篇研究的角度挺新颖的,把生成式AI和职场沟通培训结合起来,确实切中了职场新人的痛点——很多时候不是能力不行,而是缺乏一个“安全”的练习环境。我特别注意到一个数据:AI组玩家和NPC的互动占比高达60%,形成了“提问-建议-反思”的良性循环。这说明AI不只是给答案,更像一个能引导思考的陪练。相比看视频、读文本那种单向输入,这种交互式的学习确实更容易让人沉浸进去。不过最后提到的“AI novelty effect”确实是个值得留意的点。新鲜感退去后,学习效果还能不能持续?如果能进一步研究这个问题,对实际应用会更有参考价值。感觉这种“在游戏里跟AI练胆”的思路,感觉很适合推广到更多职场培训场景中👻
这是一个很有意思的研究!它触及了一个痛点:职场沟通和抗压这类隐性知识如何通过技术支架去习得?研究通过对比实验证实了生成式人工智能互动组在感知保真度和心流上的优势。我特别关注文中的“行为模式分析”,学习者主动获取“正向支持”是关键。这引出一个思考:在设计生成式人工智能NPC时,除了提供信息,我们如何更好地设计它的“人格”和“情绪反馈”,来平衡认知负荷,同时最大化抗压训练的效度?
这篇研究读下来,我的想法是:这个研究太适合当下职场新人的痛点了。说实话,我们经常说大学生进了职场不会沟通、扛不住压力,但很少有研究真的用技术去“练”这件事,而不是“讲”这件事。这篇把生成式AI做成游戏里非玩家角色的NPC,让学习者在情境里反复试错、获得即时反馈,这个设计本身就很也有意思👻——比放个教学视频或者给本沟通手册,交互感强太多了。
我比较感兴趣的是研究方法里的“行为模式分析”。它不只是看学习效果好不好,而是去看学生怎么跟AI聊、聊了啥、遇到困难时会不会主动求助。这其实是在还原真实的学习过程,而不仅仅是结果。这让我想到,我们做教育项目时也经常只看后测分数,但忽略了学生到底是怎么“用”工具的。如果只给工具不给过程分析,很多有效行为可能就被埋没了。
这篇研究读下来,我的想法是:这个研究太适合当下职场新人的痛点了。说实话,我们经常说大学生进了职场不会沟通、扛不住压力,但很少有研究真的用技术去“练”这件事,而不是“讲”这件事。这篇把生成式AI做成游戏里非玩家角色的NPC,让学习者在情境里反复试错、获得即时反馈,这个设计本身就很也有意思👻——比放个教学视频或者给本沟通手册,交互感强太多了。
我比较感兴趣的是研究方法里的“行为模式分析”。它不只是看学习效果好不好,而是去看学生怎么跟AI聊、聊了啥、遇到困难时会不会主动求助。这其实是在还原真实的学习过程,而不仅仅是结果。这让我想到,我们做教育项目时也经常只看后测分数,但忽略了学生到底是怎么“用”工具的。如果只给工具不给过程分析,很多有效行为可能就被埋没了。
说实话,看到“职场新人心理健身房”这个词,我第一反应就是:这简直是社恐救星。以前入职最怕的就是那种冷冰冰的培训视频或者厚厚的员工手册,看完除了想打瞌睡基本记不住啥。这篇文章最出彩的地方在于它把AI变成了那种不会让你尴尬的“陪练”,比起直接对着真人上司演练,跟AI NPC对话确实更有安全感,也更敢试错。不过我还是得客观地分析一下,91个样本虽然比上一个研究多点,但对于职场这种千人千面的复杂环境来说,实验结果的普适性还是得打个问号。而且研究里提到的高认知负荷,到底是来自真的深层思考,还是因为折腾这些新鲜工具带来的额外压力?如果这种模式天天搞,新鲜感一过,会不会也变成另一种形式的敷衍打卡?但总的来说,这种用AI搭建“脚手架”的思路确实比单纯灌输知识要高明得多,尤其是在师范或者护理这种极度依赖沟通直觉的行业,这种低成本的模拟实战真的很有潜力。
作为一个社恐人士,每次上课讨论发言都像上刑场, 要是游戏里能先跟AI练沟通,感觉能壮胆好多!不过好奇:AI给的反馈会不会太“标准答案”了?真实职场的奇葩情况它真能模拟出来吗?而且论文自己也提到AI的新鲜感可能影响效果,万一玩两周就腻了,是不是又回到原形?要是能做个长期研究,或者对比一下AI陪练跟真人模拟训练的效果差异,那就更有说服力了!